Craftsman Riding Mower Parts Diagram : Lawn Mowers Craftsman / Craftsman yt 3000 parts diagram.

Info Populer 2022

Craftsman Riding Mower Parts Diagram : Lawn Mowers Craftsman / Craftsman yt 3000 parts diagram.

Craftsman Riding Mower Parts Diagram : Lawn Mowers Craftsman / Craftsman yt 3000 parts diagram.
Craftsman Riding Mower Parts Diagram : Lawn Mowers Craftsman / Craftsman yt 3000 parts diagram.

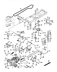
Craftsman Riding Mower Parts Diagram : Lawn Mowers Craftsman / Craftsman yt 3000 parts diagram.. Craftsman riding mower parts | model 247290000 | sears partsdirect for craftsman riding lawn mower parts diagram, image size 1000 x 1294 px, and to view image details please click the image. Parts diagrams and manuals available. Click on the image to enlarge, and then save it to your computer by right clicking on the image. Craftsman yt 3000 parts diagram. Craftsman riding mower steering parts 3000 lawn tractor cut book.

Xv 2766 craftsman mower deck diagram lawn. Search for your craftsman model. Click the search button to see more results. Craftsman riding lawn mower model 13an77xs093 mtd parts. Craftsman 25587 42 19 hp briggs stratton fender hydro automatic.

Craftsman 917270671 Front Engine Lawn Tractor Parts Sears Partsdirect
Craftsman 917270671 Front Engine Lawn Tractor Parts Sears Partsdirect from c.searspartsdirect.com
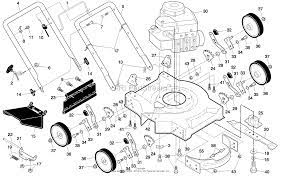
Whether you need a new air filter, mower blade, carburetor, or oil filter, you can trust jack's to provide a quality replacement part for your craftsman mowers. Com mr mower parts ayp 42 deck rebuild kit for sears. 16 hp electric start 42 mower 6 speed transaxle lawn tractor 917.27103. Craftsman riding lawn mower parts diagram the garden. 2 pk.craftsman,poulan,husqvarna 42 riding lawn mower deck mandrel,130794 (8479) $35.25. 4.9 out of 5 stars 30. Parts diagrams and manuals available. 27 craftsman dls 3500 parts diagram wiring list.

Free shipping on parts orders over $45.

We also have installation guides, diagrams and manuals to help you along the way! Craftsman riding mower parts | model 247290000 | sears partsdirect for craftsman riding lawn mower parts diagram, image size 1000 x 1294 px, and to view image details please click the image. Ayp 36 inch to 42 deck parts diagram lawnmower pros. Vz 7701 craftsman mower deck diagram lawn. Craftsman 42 briggs & stratton 17.5 hp gas powered riding lawn tractor operator's manual. Always keep product_ contact your nearest sears store for details°. Collection of craftsman lawn mower model 917 wiring diagram. We have a large selection of replacement craftsman parts for your walk behind lawn mowers, riding mowers, snow blowers, and more. Click on the image to enlarge, and then save it to your computer by right clicking on the image. A wide variety of craftsman lawn mower options are available to you, such as feature. Craftsman 25587 42 19 hp briggs stratton fender hydro automatic. Free shipping on parts orders over $45. Issues with the front axle or wheel spindle can also impact steering and should be replaced as well.

Craftsman riding mower parts | model 247290000 | sears partsdirect for craftsman riding lawn mower parts diagram, image size 1000 x 1294 px, and to view image details please click the image. Collection of craftsman lawn mower model 917 wiring diagram. Issues with the front axle or wheel spindle can also impact steering and should be replaced as well. Xv 2766 craftsman mower deck diagram lawn. Truly, we have been remarked that craftsman mower deck parts diagram is being one of the most popular topic at this moment.

Craftsman 917255728 Front Engine Lawn Tractor Parts Sears Partsdirect
Craftsman 917255728 Front Engine Lawn Tractor Parts Sears Partsdirect from c.searspartsdirect.com
T130 42 in 18 5 hp automatic riding mower cmxgram1130038. This is a genuine ridgid replacement part, it is sold individually. Collection of craftsman lawn mower model 917 wiring diagram. 27 craftsman dls 3500 parts diagram wiring list. Search for your craftsman model. Each part should be placed and connected with other parts in specific manner. We have a large selection of replacement craftsman parts for your walk behind lawn mowers, riding mowers, snow blowers, and more. Operator's manual and instructions furnished with attachments.

From time to time, however, your riding mower may run a little rough, particularly if you're putting it back into use after several months of storage.

Craftsman 917270671 front engine lawn tractor parts sears. Here is a picture gallery about craftsman riding lawn mower parts diagram complete with the description of the image, please find the image you need. Ayp 36 inch to 42 deck parts diagram lawnmower pros. Collection of craftsman lawn mower model 917 wiring diagram. Wiring diagram craftsman riding lawn mower? Hydro gear x console automatic yt/gt. Click on the image to enlarge, and then save it to your computer by right clicking on the image. Truly, we have been remarked that craftsman mower deck parts diagram is being one of the most popular topic at this moment. This is a genuine ridgid replacement part, it is sold individually. 4.9 out of 5 stars 30. 26 best 42 inch craftsman deck images in 2020 mower. Always keep product_ contact your nearest sears store for details°. Craftsman 42 briggs & stratton 17.5 hp gas powered riding lawn tractor operator's manual.

Craftsman riding lawn mower parts diagram the garden. Fix your craftsman lawn tractor today. From time to time, however, your riding mower may run a little rough, particularly if you're putting it back into use after several months of storage. Keep your mower running strong with craftsmanâ® replacement blades, air, oil and fuel filters, spark plugs, and belts for riding mowers. Operator's manual and instructions furnished with attachments.

Sears Craftsman 19 5 H P Lawn Tractor 42 Mower Owner Parts Manual 247 28902 Ebay
Sears Craftsman 19 5 H P Lawn Tractor 42 Mower Owner Parts Manual 247 28902 Ebay from i.ebayimg.com
Sears craftsman yt yts dls dys ys 46 mower deck parts rebuild kit spindle assemblies blades belt. 2, do not chute, or near any moving parts while tractor' or mower are running. Craftsman 42 cut riding mower deck belt 174883 532174883 for electric clutch. T130 42 in 18 5 hp automatic riding mower cmxgram1130038. 35 craftsman lt1000 drive belt diagram wiring list. Collection of craftsman lawn mower model 917 wiring diagram. Search for your craftsman model. Shop for craftsman lawn mower parts today, from 104757x428 to rj19lm!

Find parts for your craftsman t140 riding lawn mower cmxgram201304.

Whether you need a new air filter, mower blade, carburetor, or oil filter, you can trust jack's to provide a quality replacement part for your craftsman mowers. Sears craftsman yt yts dls dys ys 46 mower deck parts rebuild kit spindle assemblies blades belt. Craftsman riding mowers & tractors repair and replacement parts. Sears craftsman yt yts dls dys ys 46 mower deck parts rebuild kit spindle assemblies blades belt idler pulleys. Craftsman riding tractor parts diagram | tractor parts diagram and regarding craftsman mower deck parts diagram, image size 399 x 352 px, and to view image details please click the image. Get it as soon as mon, jun 28. Loose steering—inspect the steering shaft and tie rods and replace any damaged parts. 26 best 42 inch craftsman deck images in 2020 mower. Open 7 days a week. Enter your craftsman model number below. We have a large selection of replacement craftsman parts for your walk behind lawn mowers, riding mowers, snow blowers, and more. Also, check the electric clutch and pto switch to ensure everything is. Craftsman riding lawn mower parts diagram the garden.

Advertisement

Iklan Sidebar